• ARI strainers 過濾器

ARI strainers 過濾器

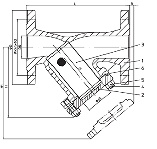
‧濾網不銹鋼材質
‧接口:法蘭口
‧材質:灰鐵 鑄鐵 展性鑄鐵 鍛
    鋼 鑄鋼 不銹鋼等
‧型式:Y型
‧德國TÜV壓力測試認證
2.gif

ARI-Strainer

Strainer - Y -pattern with flanges

(Grey cast iron, SG iron, Cast steel)





型號 公稱壓力 材質 口徑
10.050 PN6 鑄鐵EN-JL1040 DN15-200
12.0503 PN16 鑄鐵EN-JL1040 DN15-300
22.050 PN16 展性鑄鐵EN-JS1049 DN15-300
23.050 PN25 展性鑄鐵EN-JS1049 DN15-150
34.050 PN25 鑄鋼1.0619+N DN15-200
35.050 PN40 鑄鋼1.0619+N DN15-200

壓差過大時需加裝支撐籃網

測試根據德國TA-Luft TUV-Test-NO.922-9204866